產品中心
進口活塞式緩閉止回閥
類別:美國進口閥門 ? 發布時間:1970-01-01 08:00 ? 瀏覽: 次

進口活塞式緩閉止回閥用途--
ALSO活塞式緩閉止回閥主要安裝在取水、送水、加壓、潛水、污水等泵站的水泵出水管道上。同時兼具止回閥,截止閥、調節閥、過濾器以及水錘消除器的作用。
進口活塞式緩閉止回閥原理--
1.當水泵開啟時,水通過導管進入中腔,推動活塞上升,主閥開啟。
2.當水泵停止工作時,活塞在回水壓力下降,由于進口處針形閥比出口球閥流量小,因此活塞緩慢下降,主閥也隨之緩慢關閉。
進口活塞式緩閉止回閥結構特點--
1.本閥具有開啟和關閉速度調控的止回閥作用,可視具體工況配合現場調節最佳的開啟和關閉速度,可防止水錘及水擊的產生,達到除噪的效果。
2.將緩開、速閉消除水錘的技術原理一體化,防止開泵水錘和停泵水錘的產生。
3.只需操作水泵電機啟閉按扭,閥門即按照水泵操作規程實現自動開閉。
4.閥體采用了全通道流線型直流式設計,壓力損失小、流量大、具體積小、重量輕
5.壓力等級:PNlO-PN25
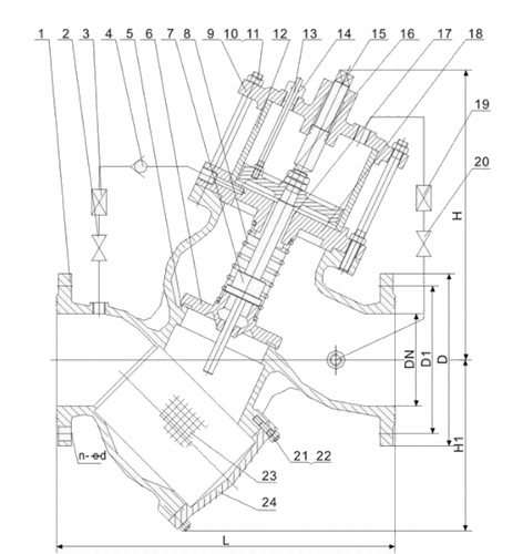
進口活塞式緩閉止回閥結構圖--

| 序號 | 零件名稱 | 主要材質 |
| 1 | 閥體 | 鑄鐵、鑄鋼 |
| 2\20 | 球閥 | 黃銅 |
| 3\19 | Y型過濾器 |
黃銅 |
| 4 | 微止回閥 | 黃銅 |
| 5 | 閥座 | 鑄鋼 |
| 6 | 閥瓣 |
鑄鋼 |
| 7 | 閥桿 | 不銹鋼 |
| 8 | 壓縮彈簧 | 不銹鋼 |
| 9 | 閥蓋 | 鑄鐵、鑄鋼 |
| 10 | 六角螺母 | 碳素鋼 |
| 11 | 雙頭螺柱 | 碳素鋼 |
| 12 | 活塞缸 | 不銹鋼 |
| 13 | 指示桿 | 不銹鋼 |
| 14 | 填料盒 | 黃銅 |
| 15 | 調節螺桿 | 不銹鋼 |
| 16 | 活塞 | 不銹鋼 |
| 17 | 導向套 | 黃銅 |
| 18 | 活塞座 | 鑄鐵、鑄鋼 |
| 21 | 六角螺母 | 碳素鋼 |
| 22 | 雙頭螺柱 | 碳素鋼 |
| 23 | 過濾網 | 不銹鋼 |
| 24 | 過濾網蓋 | 鑄鐵、鑄鋼 |
|
公稱通徑 |
L | D | D1 | Z-Φ | ||||||
| PN10 | PN16 | PN25 | PN10 | PN16 | PN25 | PN10 | PN16 | PN25 | ||
| 40 | 260 | 150 | 110 | 4-18 | ||||||
| 50 | 300 | 160 | 125 | 4-18 | ||||||
| 65 | 340 | 180 | 145 | 4-18 | 8-18 | |||||
|
80 |
380 | 195 | 160 | 4-18 | 4-18 | 8-18 | ||||
| 100 | 430 | 215 | 230 | 190 | 190 | 8-18 | 8-23 | |||
| 125 | 450 | 245 | 270 | 210 | 220 | 8-18 | 8-25 | |||
| 150 | 480 | 285 | 300 | 240 | 250 | 8-23 | 8-25 | |||
| 200 | 600 | 335 | 360 | 295 | 310 | 8-23 | 12-23 | 12-25 | ||
| 250 | 730 | 390 | 405 | 425 | 350 | 355 | 370 | 12-23 | 12-25 | 12-30 |
| 300 | 850 | 440 | 460 | 485 | 400 | 410 | 430 | 12-23 | 12-25 | 16-30 |
| 350 | 980 | 500 | 520 | 550 | 460 | 470 | 490 | 16-23 | 16-25 | 16-34 |
| 400 | 1100 | 565 | 580 | 620 | 515 | 525 | 550 | 16-25 | 16-30 | 16-34 |


