類別:美國進口閥門 ? 發布時間:1970-01-01 08:00 ? 瀏覽: 次

進口U型過濾器描述--
1.進口U型過濾器有法蘭、內螺紋和焊接等連接方式,是管道輸送液體過程中清除固體雜質的設備。
2.通常安裝在設備的入口端,當流體進入置濾網的濾筒后,其雜質被阻擋,而清潔的濾液則由過濾器出口排出,當需要清洗時,只要將可拆卸的濾筒取出,處理后重新裝入即可。
3.壓力損失小,流通面積大,抗污性強,排污方便,排污方便。
4.U型過濾器為整體式閥體設計、可更換過濾內件、多種過濾結構設計、濾網精度18-500目可選、常規30目設計、雙排放接口、排污方便。
進口U型過濾器主要材質--
|
零件名稱 |
材料 |
|
閥體 |
碳鋼、不銹鋼 |
|
濾網蓋 |
碳鋼、不銹鋼 |
|
濾芯網 |
不銹鋼 |
|
墊片 |
柔性石墨 |
進口U型過濾器特點—
流通面積大,壓力損失??;
過濾精度高,濾芯孔徑均勻;
抗污性強,排污方便;
易于清洗,濾芯可更換;
強度大,耐高溫,濾芯不易變形;
過濾阻力小,通量大、截污能力強;
濾芯材料潔凈度高,對過濾介質無污染;
進口U型過濾器典型應用—
U型過濾器通常是安裝在減壓閥、泄壓閥、計量器、閥門、疏水器、機泵、壓縮機、儀表或其它設備的進口端,用來消除介質中的雜質,以保護閥門及設備的正常使用。
進口U型過濾器選型參數—
工作壓力: PN1.6-4.0MPA;
介質溫度:-20℃-350℃;
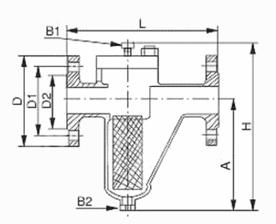
進口U型過濾器外形尺寸--

|
材質 |
DN |
L |
A |
H |
D |
D1 |
N-n |
一般網目數 |
特殊網目數 |
工作壓力 MPa |
|
|
JB78-59 JB79-59 |
GB2555-81 |
||||||||||
|
WCB CF8 CF8M |
10 |
150 |
80 |
125 |
90 |
90 |
60 |
4~14 |
3.9/mm (100目) |
2.4/mm 60目 |
1.6 |
|
15 |
150 |
80 |
125 |
95 |
95 |
65 |
|||||
|
20 |
180 |
100 |
153 |
105 |
105 |
75 |
2.4/mm 60目 |
1.6/mm 40目 |
|||
|
25 |
180 |
100 |
153 |
115 |
115 |
85 |
|||||
|
40 |
300 |
155 |
304 |
145 |
150 |
110 |
4~18 |
||||
|
50 |
300 |
155 |
304 |
160 |
165 |
125 |
|||||
|
65 |
340 |
220 |
380 |
180 |
185 |
145 |
|||||
|
80 |
400 |
250 |
420 |
195 |
200 |
160 |
8~18 |
1.6/mm 40目 |
0.8/mm 20目 |
||
|
100 |
500 |
295 |
502 |
215 |
220 |
180 |
|||||
|
150 |
600 |
335 |
650 |
280 |
285 |
240 |
8~23 |
||||
|
200 |
786 |
395 |
770 |
335 |
340 |
295 |
12~23 |
||||
|
WCB CF8 CF8M |
10 |
165 |
77 |
127 |
100 |
100 |
70 |
4~14 |
3.9/mm 100目 |
2.4/mm 60目 |
6.4 |
|
15 |
165 |
79 |
131 |
105 |
105 |
75 |
|||||
|
20 |
200 |
91 |
154 |
125 |
130 |
90 |
4~18 |
2.4/mm 60目 |
1.6/mm 40目 |
||
|
25 |
210 |
96 |
159 |
135 |
140 |
100 |
|||||
|
40 |
320 |
155 |
308 |
165 |
170 |
125 |
4~23 8~23 |
||||
|
50 |
320 |
155 |
310 |
175 |
180 |
135 |
6.4 4.0 |
||||
|
80 |
420 |
250 |
430 |
210 |
215 |
170 |
1.6/mm 40目 |
0.8/mm 20目 |
|||
|
100 |
525 |
295 |
510 |
250 |
250 |
200 |
8~25 |
||||
|
150 |
600 |
335 |
650 |
300 |
300 |
250 |
8~26 |
2.5 |
|||
|
200 |
786 |
395 |
780 |
360 |
360 |
310 |
12~26 |
||||


