類別:美國進口閥門 ? 發布時間:1970-01-01 08:00 ? 瀏覽: 次

進口三合一多功能止回閥描述--
ALSO進口三合一多功能止回閥亦稱水泵多功能閥,是將緊密的關斷,彈簧關閉的無聲無撞擊止回閥和帶流量測量的有效節流三種功能為一體的多功能閥門
進口三合一多功能止回閥結構--
閥座每一側都有一個美國標準錐形螺紋接口(1/4NPT),兩接頭上有黃銅的壓力表,并帶止回閥和墊片帽,在另兩個接頭上,提供黃銅的排水堵頭。表接口與排水堵頭可以互換,在安裝位置緊張時,允許有測量的靈活性。

進口三合一多功能止回閥性能--
無水錘止回閥功能
1、即使泵出口壓力小也可以抬起閥辯。并使流體通過,(0 04~0 07kgf/cm2開始工作)。
2、l因停止運轉而使流體的流動一性被削弱時.閥瓣受彈簧作用.而關閉閥,這樣完全可以防止一般止回閥因逆流而產生的水擊。
3、三臺一止回閥,園其密封墊是由合成橡膠制作的,因而可以吸收關閉閥擗時所產生的沖擊,并且完全密封。
進口三合一多功能止回閥性能--
閘閥(截止閥)功能
利用閥桿向下推閥瓣.貼緊閥座,完全阻止流體。一般閘閥是由金屬接觸,因而不可能形成完全密封,而三合一止回閥.則由于其閥瓣是由丁腈橡膠制成的,因而能完全密封。
平衡閥功能
通過用手上下調節桿調節盤的開度,可以調節流體的流量,利用指示器,可以觀察閥瓣的開閉狀態
進口三合一多功能止回閥特點--
1.減少現場安裝和材料成本
2.鑄鐵閥體帶標準槽端口
3.將水泵出口的三個閥集成一個,節省空間
4.軟座保證關閉緊密
5.無撞擊止回閥彈簧關閉設計,可垂直或水平安裝
6.具有流量測量和調節的能力
7.溫度測量能力
8.彈簧閉合設計止回閥防止泵在不運作時的重力和反循環
9.以反復退閥桿的方法,在滿系統壓力下可更換閥帽(O型圈)
10.適合于最大工作壓力2586Kpa和溫度110°C
11.無需任何專業工具即可現場更換閥座
12.系統運行平衡,符合美國供暖與空氣調節師協會推薦的流量標準
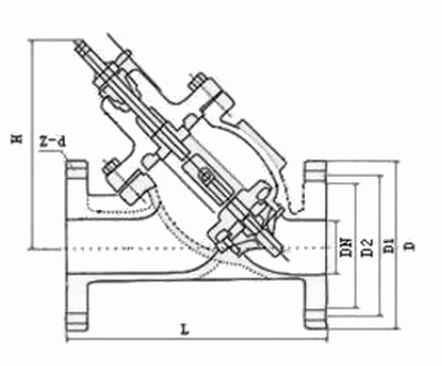
進口三合一多功能止回閥外形尺寸--

|
DN |
L |
H |
D |
D1 |
D2 |
|||||||
|
1.0MPa |
1.6MPa |
2.5MPa |
1.0MPa |
1.6MPa |
2.5MPa |
1.0MPa |
1.6MPa |
2.5MPa |
||||
|
50 |
205 |
|
293 |
165 |
165 |
165 |
125 |
125 |
125 |
4-18 |
4-18 |
4-18 |
|
65 |
215 |
|
328 |
185 |
185 |
185 |
145 |
145 |
145 |
4-18 |
4-18 |
8-18 |
|
80 |
250 |
|
364 |
200 |
200 |
200 |
160 |
160 |
160 |
8-18 |
8-18 |
8-18 |
|
100 |
320 |
|
418 |
220 |
220 |
235 |
180 |
180 |
190 |
8-18 |
8-18 |
8-22 |
|
125 |
365 |
|
481 |
250 |
250 |
270 |
210 |
210 |
220 |
8-18 |
8-18 |
8-22 |
|
150 |
415 |
380 |
543 |
285 |
285 |
300 |
240 |
240 |
250 |
8-22 |
8-22 |
8-26 |
|
200 |
500 |
450 |
673 |
340 |
340 |
360 |
295 |
295 |
310 |
8-22 |
12-22 |
8-26 |
|
250 |
600 |
540 |
792 |
395 |
405 |
425 |
350 |
355 |
370 |
12-22 |
12-26 |
12-26 |
|
300 |
680 |
600 |
927 |
445 |
460 |
485 |
400 |
410 |
430 |
12-22 |
12-26 |
12-30 |
|
350 |
780 |
635 |
957 |
505 |
520 |
555 |
460 |
470 |
490 |
16-22 |
16-26 |
16-33 |
|
400 |
860 |
700 |
1188 |
565 |
580 |
620 |
515 |
525 |
550 |
16-26 |
16-30 |
16-36 |
|
450 |
920 |
780 |
1218 |
615 |
640 |
670 |
565 |
585 |
600 |
20-26 |
20-30 |
20-36 |
|
500 |
980 |
810 |
1256 |
670 |
715 |
730 |
620 |
650 |
660 |
20-26 |
20-33 |
20-36 |


