產品中心
進口活塞式可調式減壓閥
類別:美國進口閥門 ? 發布時間:1970-01-01 08:00 ? 瀏覽: 次

進口活塞式可調式減壓閥用 途--
ALSO活塞式可調式減壓閥是利用管路中的水壓自動操作主閥瓣的上下移動,控制閥門的開度,調節下游壓力,使下游壓力維持在導閥彈簧設定值上,當下游壓力超過設定值時,減壓閥將自動關閉,不管進口壓力怎樣波動,都可輸出穩定的出口壓力。不管下游流量怎樣變換,都能維持出口穩定在導閥設定值之上。同時通過導閥調節的出口壓力調節范圍大,可達到閥前壓力10-80%。
一般用于生活給水、消防及工業給水系統。
進口活塞式可調式減壓閥調節范圍-
壓力等級:PN10(調節范圍0.1-0.8MPa)
壓力等級:PN16(調節范圍0.2-1 .4MPa)
壓力等級:PN25(調節范圍0.3-2.0MPa)
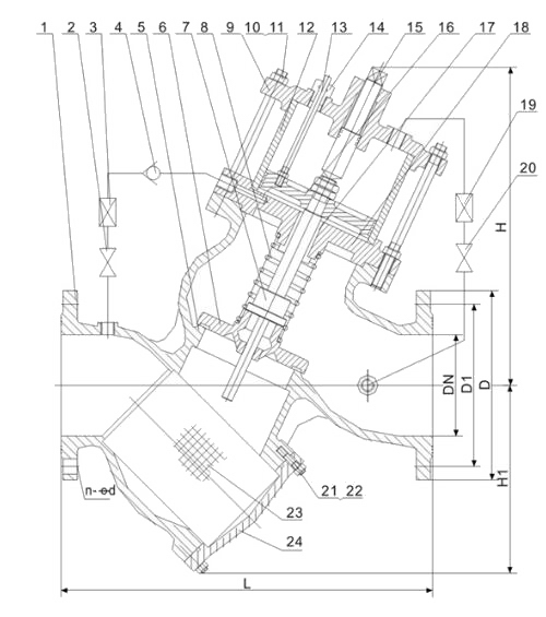
進口活塞式可調式減壓閥結構圖--

| 序號 | 零件名稱 | 主要材質 |
| 1 | 閥體 | 鑄鐵、鑄鋼 |
| 2\20 | 球閥 | 黃銅 |
| 3\19 | Y型過濾器 |
黃銅 |
| 4 | 微止回閥 | 黃銅 |
| 5 | 閥座 | 鑄鋼 |
| 6 | 閥瓣 |
鑄鋼 |
| 7 | 閥桿 | 不銹鋼 |
| 8 | 壓縮彈簧 | 不銹鋼 |
| 9 | 閥蓋 | 鑄鐵、鑄鋼 |
| 10 | 六角螺母 | 碳素鋼 |
| 11 | 雙頭螺柱 | 碳素鋼 |
| 12 | 活塞缸 | 不銹鋼 |
| 13 | 指示桿 | 不銹鋼 |
| 14 | 填料盒 | 黃銅 |
| 15 | 調節螺桿 | 不銹鋼 |
| 16 | 活塞 | 不銹鋼 |
| 17 | 導向套 | 黃銅 |
| 18 | 活塞座 | 鑄鐵、鑄鋼 |
| 21 | 六角螺母 | 碳素鋼 |
| 22 | 雙頭螺柱 | 碳素鋼 |
| 23 | 過濾網 | 不銹鋼 |
| 24 | 過濾網蓋 | 鑄鐵、鑄鋼 |
|
公稱通徑 |
L | D | D1 | Z-Φ | ||||||
| PN10 | PN16 | PN25 | PN10 | PN16 | PN25 | PN10 | PN16 | PN25 | ||
| 40 | 260 | 150 | 110 | 4-18 | ||||||
| 50 | 300 | 160 | 125 | 4-18 | ||||||
| 65 | 340 | 180 | 145 | 4-18 | 8-18 | |||||
|
80 |
380 | 195 | 160 | 4-18 | 4-18 | 8-18 | ||||
| 100 | 430 | 215 | 230 | 190 | 190 | 8-18 | 8-23 | |||
| 125 | 450 | 245 | 270 | 210 | 220 | 8-18 | 8-25 | |||
| 150 | 480 | 285 | 300 | 240 | 250 | 8-23 | 8-25 | |||
| 200 | 600 | 335 | 360 | 295 | 310 | 8-23 | 12-23 | 12-25 | ||
| 250 | 730 | 390 | 405 | 425 | 350 | 355 | 370 | 12-23 | 12-25 | 12-30 |
| 300 | 850 | 440 | 460 | 485 | 400 | 410 | 430 | 12-23 | 12-25 | 16-30 |
| 350 | 980 | 500 | 520 | 550 | 460 | 470 | 490 | 16-23 | 16-25 | 16-34 |
| 400 | 1100 | 565 | 580 | 620 | 515 | 525 | 550 | 16-25 | 16-30 | 16-34 |


