產品中心
進口活塞式遙控浮球閥
類別:美國進口閥門 ? 發布時間:1970-01-01 08:00 ? 瀏覽: 次

進口活塞式遙控浮球閥描述--
ALSO活塞式遙控浮球閥主要用于高層建筑和工礦企業的水箱、水池及水塔的自動供水系統,可控制水箱或水池液面,當水池水位達到預定水位時,閥門自動關閉;水位下降時,閥門自動開啟補水。
進口活塞式遙控浮球閥結構特點--
1.本閥采用軟、硬雙閥板密封,利用液壓控制原理,使閥板關閉力與進水壓力成正比,密封可靠性高。
2.控制浮球閥一般與主閥體分離安裝
3.壓力1.0-2.5Mpa
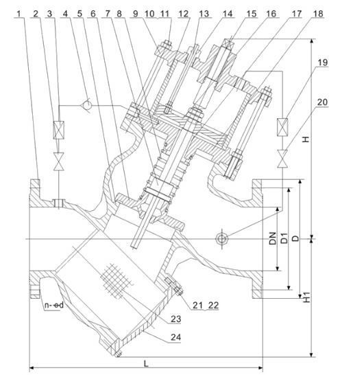
進口活塞式遙控浮球閥結構圖--

| 序號 | 零件名稱 | 主要材質 |
| 1 | 閥體 | 鑄鐵、鑄鋼 |
| 2\20 | 球閥 | 黃銅 |
| 3\19 | Y型過濾器 |
黃銅 |
| 4 | 微止回閥 | 黃銅 |
| 5 | 閥座 | 鑄鋼 |
| 6 | 閥瓣 |
鑄鋼 |
| 7 | 閥桿 | 不銹鋼 |
| 8 | 壓縮彈簧 | 不銹鋼 |
| 9 | 閥蓋 | 鑄鐵、鑄鋼 |
| 10 | 六角螺母 | 碳素鋼 |
| 11 | 雙頭螺柱 | 碳素鋼 |
| 12 | 活塞缸 | 不銹鋼 |
| 13 | 指示桿 | 不銹鋼 |
| 14 | 填料盒 | 黃銅 |
| 15 | 調節螺桿 | 不銹鋼 |
| 16 | 活塞 | 不銹鋼 |
| 17 | 導向套 | 黃銅 |
| 18 | 活塞座 | 鑄鐵、鑄鋼 |
| 21 | 六角螺母 | 碳素鋼 |
| 22 | 雙頭螺柱 | 碳素鋼 |
| 23 | 過濾網 | 不銹鋼 |
| 24 | 過濾網蓋 | 鑄鐵、鑄鋼 |
|
公稱通徑 |
L | D | D1 | Z-Φ | ||||||
| PN10 | PN16 | PN25 | PN10 | PN16 | PN25 | PN10 | PN16 | PN25 | ||
| 40 | 260 | 150 | 110 | 4-18 | ||||||
| 50 | 300 | 160 | 125 | 4-18 | ||||||
| 65 | 340 | 180 | 145 | 4-18 | 8-18 | |||||
|
80 |
380 | 195 | 160 | 4-18 | 4-18 | 8-18 | ||||
| 100 | 430 | 215 | 230 | 190 | 190 | 8-18 | 8-23 | |||
| 125 | 450 | 245 | 270 | 210 | 220 | 8-18 | 8-25 | |||
| 150 | 480 | 285 | 300 | 240 | 250 | 8-23 | 8-25 | |||
| 200 | 600 | 335 | 360 | 295 | 310 | 8-23 | 12-23 | 12-25 | ||
| 250 | 730 | 390 | 405 | 425 | 350 | 355 | 370 | 12-23 | 12-25 | 12-30 |
| 300 | 850 | 440 | 460 | 485 | 400 | 410 | 430 | 12-23 | 12-25 | 16-30 |
| 350 | 980 | 500 | 520 | 550 | 460 | 470 | 490 | 16-23 | 16-25 | 16-34 |
| 400 | 1100 | 565 | 580 | 620 | 515 | 525 | 550 | 16-25 | 16-30 | 16-34 |


