類別:美國進口閥門 ? 發布時間:1970-01-01 08:00 ? 瀏覽: 次

進口衛生級過濾器應用--
ALSO衛生級過濾器主要用于保護泵,儀器儀表和其它設備等,由于其結構緊湊,過濾能力強,壓損小,維護方便等特點,當流體進入過濾器缸體后,過濾網孔極其微小,顆粒物體被過濾網阻擋,排出清潔液體。廣泛應用在食品、飲料、釀酒、純水、制藥、化妝品、飲料、化學制品工業中。
1.衛生級角式過濾器進口與出口成90°垂直,進口是缸體同心口,出口是缸體垂直口,通常安裝在兩條平行管道上
2.衛生級直通過濾器進口平面與出口平面平行,可安裝在一條中心直線上,濾網和缸體是分體式結構,在不拆卸缸體的情況下就能抽出濾網清洗
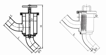
3.衛生級Y型過濾器進口平面與出口平面平行,可安裝在一條中心直線上,代替直通式過濾器,濾網和缸體是分體式結構,在不拆卸缸體的情況下就能抽出濾網清洗
4.雙筒切換過濾器具有清除介質中雜質使供給介質達到潔凈的功能,分別由二組過濾筒和四個蝶閥組成,工作時一筒工作,一筒備用,可實現不停車切換過濾筒,達到循環潤滑系統不間斷工作的目的。
根據使用要求可選用不同的濾芯,其濾芯有三種類型(沖孔板網濾芯,金屬絲網濾芯及楔形濾芯),其過濾能力如下:

進口衛生級過濾器設計參數--
閥體材質:304/316L
濾芯材質:304/316L
密封材料:三元乙丙橡膠(EPDM)
過濾網目數:20-400目
連接方式:螺紋,焊接,卡箍
最大工作壓力:10bar
工作溫度:-10℃至+120℃(短時間或消毒+140℃)
表面處理:內表面處理Ra≤1.6μm
外表面處理Ra≤0.8μm
進口衛生級過濾器外形尺寸--
衛生級角式過濾器


衛生級直通過濾器


衛生級Y型過濾器




衛生級雙聯過濾器




