類別:美國進口閥門 ? 發布時間:1970-01-01 08:00 ? 瀏覽: 次

進口蒸汽過濾器描述--
ALSO進口Y型過濾器有法蘭式、焊接式和內螺紋式,這是一種保護下游設備如冷凝器、熱交換器、泵、壓縮機、儀表、噴霧嘴、渦輪、疏水閥,安全閥等免遭鐵銹、管垢、沉淀,或者其他固體碎片損害的廉價方法。當流體進入置濾網的濾筒后,其雜質被阻擋,而清潔的濾液則由過濾器出口排出,當需要清洗時,只要將可拆卸的濾筒取出,處理后重新裝入即可
進口蒸汽過濾器設計規范--
基本設計: BS EN 13709, ASME B16.34
結構長度: ASME B16.10, EN 558 -1
連接端: ASME B16.5, ASME B16.47, EN 1092-1
試壓: API 598, EN 12266
進口蒸汽過濾器零部件材料--

進口蒸汽過濾器特點—
排污方便;
壓力損失小;
過濾面積大;
過濾精密;
抗污性強;
耐腐蝕性強;
雙層網結構過濾網,堅固耐用;
可與伸縮節組成具有安裝長度可調節的功效;
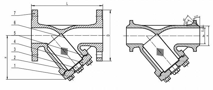
進口蒸汽過濾器外形尺寸--


進口蒸汽過濾器典型應用—
進口Y型過濾器適用于以下工況:
1.鍋爐、電廠、洗滌、紡織生產中的蒸汽、熱油等;
2.燃氣系統、加油站、暖通等的天然氣、油品、暖氣等
3.石油、化工、給排水管線的弱腐蝕性介質,如:水,海水、氨,烴類等;
4.化工管線的腐蝕性介質,如:燒堿,濃稀硫酸,碳酸,醋酸,酯酸等;
5.制冷工控中的低溫介質,如:液甲烷,液氨,液氧和各種冷劑;
6.輕工食品,制藥生產中有衛生要求的物料,如:啤酒,飲料,乳制品,糧漿醫藥用品等


