產品中心
進口蝶式對夾止回閥(雙瓣逆止閥、單向閥)
類別:美國進口閥門 ? 發布時間:1970-01-01 08:00 ? 瀏覽: 次

進口蝶式止回閥
描述--
ALSO進口對夾雙瓣止回閥亦稱之為蝶式雙瓣止回閥,閥板為兩個半圓,且采用彈簧強制復位,適用于中小口徑的場合,當介質按規定方向流動時,閥瓣受介質力的作用,被開啟;介質逆流時,因閥瓣自重和閥瓣受介質反向力的作用,使閥瓣與閥座的密封面密合而關閉,達到阻止介質逆流的目的
進口蝶式對夾止回閥 結構圖--

進口蝶式對夾止回閥
性能特點--
1.安裝在法蘭之間
2.可適合用于不同的連接方式
3.低水頭損失
4.不誘鋼彈簧I避免水錘現象。
5.采用低溫粉末噴塑,防止密封閥座副產生高溫老化,提高使用壽命。
6.密封圈采用多條窄帶設計,閥座直接硫化到閥體上,使密封性能達到完全密封,實現零泄漏。
7.結構性能安全可靠抗干擾性強關閉速度快,水頭損失小。
8.結構長度短剛性好安裝方便。
|
結構 形式 |
對夾式雙瓣旋啟式止回閥 | 法蘭單瓣旋啟式止回閥 |
|
水錘 壓力 |
水,閥瓣行程短、且有彈簧輔助關閉、關閥速度快 | 很大,閥瓣行程長,需要較長的關閉時間 |
| H76型的水錘壓力只有H44型的1/2~1/5 | ||
|
尺寸 重量 |
結構長度很短、體積小、重量輕。 為閥門的安裝、搬運、存放及管道的布置帶來很大的便利,并能大量節約材料、降低造價 |
結構長度很長,體積笨大,重量很重 |
| H76型的結構長度只有H44型的1/4~1/6,H76型的重量只有H44型的1/4~1/10 | ||
|
流體 阻力 |
小,流體阻力系數ξ為2.6~0.7。 隨著閥門口徑的增大,流體阻力系數減小。 |
小,流體阻力系數ξ為1.3~3, 但低壓工況下,閥瓣不能完全開啟,流體阻力大。 流體阻力隨著閥門口徑的增大而增大。 |
| 安裝 | 可水平安裝或垂直安裝,重量輕,不必為閥門設置支座。 |
可水平安裝或垂直安裝, 大口徑閥門重量重,需設置支座 |
|
開啟 壓力 |
很小,閥瓣在很小的壓差下就能完全打開 | 較大,閥瓣在較大的壓差下才能完全打開 |
| 可靠性 |
閥門為整體結構,簡單緊湊。 閥門關閉時沖擊力小,水錘壓力小,閥門壽命長,可靠性高。 |
閥門關閉時的巨大沖擊力及水錘壓力容易損壞閥門 |
進口蝶式對夾止回閥
工作條件--
口徑范圍:DN40至DN600
工作壓力:10/16、25、40bar;
最大工作溫度依閥座材料而定。
水平安裝時,蝶板的軸線應垂直。
| 工作壓力(MPa) | 1.6~16 | |||
| 口徑(mm) | DN50-DN600 2″-24″ | |||
| 適用介質 | 水、油、氣、各種腐蝕性介質 | |||
| 可選材料 | 閥體 | WCB CF8 CF8M 鉻鉬鋼 低溫鋼 鎳合金 Monel Duplex Steel | ||
| 閥瓣 | WCB CF8 CF8M 鉻鉬鋼 低溫鋼 鎳合金 Monel Duplex Steel | |||
| 閥桿 | 2Cr13 F304 F316鉻鉬鋼 低溫鋼 鎳合金 Monel Duplex Steel | |||
| 密封面 | 不銹鋼/司太立合金 | |||
| 彈簧 | F304/F316/X-750/Monel | |||
進口蝶式對夾止回閥
典型應用--
進口對夾雙瓣止回閥適用于泵站、機械、造紙、供水、氣體、石油、制藥、水處理,蒸汽設備,氨用系統,機械設備,空調安裝。
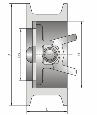
進口蝶式對夾止回閥 外形尺寸--

1.6MPa -10.0MPa 主要外形尺寸
| 公稱通徑 | PN1.0 | PN1.6 | PN2.5 | PN4.0 | PN6.4 | PN10.0 | ||||||
| L | D | L | D | L | D | L | D | L | D | L | D | |
| DN50 | 60 | 109 | 60 | 109 | 60 | 109 | 60 | 109 | 60 | 115 | 60 | 122 |
| DN65 | 67 | 129 | 67 | 129 | 67 | 129 | 67 | 129 | 67 | 140 | 67 | 147 |
| DN80 | 73 | 144 | 73 | 144 | 73 | 144 | 73 | 144 | 76 | 150 | 73 | 157 |
| DN100 | 73 | 164 | 73 | 164 | 73 | 170 | 73 | 170 | 79 | 177 | 79 | 183 |
| DN125 | 86 | 194 | 86 | 194 | 86 | 197 | 86 | 197 | 105 | 213 | 105 | 220 |
| DN150 | 98 | 220 | 98 | 220 | 98 | 227 | 98 | 227 | 136 | 250 | 136 | 260 |
| DN200 | 127 | 275 | 127 | 275 | 127 | 287 | 127 | 293 | 165 | 313 | 165 | 324 |
| DN250 | 146 | 330 | 146 | 332 | 146 | 343 | 146 | 355 | 213 | 364 | 213 | 394 |
| DN300 | 181 | 380 | 181 | 387 | 181 | 403 | 184 | 450 | 229 | 424 | 229 | 458 |
| DN350 | 184 | 440 | 184 | 447 | 184 | 460 | 222 | 478 | 273 | 487 | 273 | 510 |
| DN400 | 191 | 492 | 191 | 498 | 191 | 518 | 232 | 549 | 305 | 541 | 305 | 570 |
| DN450 | 203 | 542 | 203 | 558 | 203 | 568 | 264 | 572 | - | - | - | - |
| DN500 | 219 | 597 | 219 | 620 | 219 | 624 | 292 | 626 | - | - | - | - |
| DN600 | 222 | 698 | 222 | 734 | 222 | 734 | 318 | 745 | - | - | - | - |
Class150-Class600 主要外形尺寸
| 公稱通徑 | 150Lb | 300Lb | 600Lb | |||
| L | D | L | D | L | D | |
| 2 | 60 | 103 | 60 | 110 | 60 | 110 |
| 21/2 | 67 | 122 | 67 | 129 | 67 | 129 |
| 3 | 73 | 135 | 73 | 148 | 73 | 148 |
| 4 | 73 | 173 | 73 | 180 | 79 | 192 |
| 5 | 86 | 196 | 86 | 215 | 105 | 240 |
| 6 | 98 | 222 | 98 | 250 | 136 | 265 |
| 8 | 127 | 279 | 127 | 307 | 165 | 319 |
| 10 | 146 | 339 | 146 | 361 | 213 | 399 |
| 12 | 181 | 409 | 181 | 422 | 229 | 456 |
| 14 | 184 | 450 | 222 | 485 | 273 | 490 |
| 16 | 191 | 514 | 232 | 539 | 305 | 562 |
| 18 | 203 | 549 | 264 | 594 | 362 | 610 |
| 20 | 219 | 606 | 292 | 652 | 368 | 680 |
| 24 | 222 | 717 | 318 | 772 | 438 | 786 |


