類別:美國進口閥門 ? 發布時間:1970-01-01 08:00 ? 瀏覽: 次

進口法蘭止回閥描述--
ALSO法蘭止回閥是防止管路中介質倒流的單向閥,當介質順管路方向流動時,閥瓣受介質力的作用,被開啟;介質逆流時,因閥瓣自重和閥瓣受介質反向力的作用,使閥瓣與閥座的密封面密合而關閉,達到阻止介質逆流的目的。
進口法蘭止回閥原理--
當介質由閥體箭頭所示流向進入閥體,介質的壓力作用在閥瓣上產生向上的推力,當介質推力大于閥瓣重力時,止回閥打開。當閥后介質壓力作用在閥瓣上的力加上閥瓣自身重力大于閥前壓力作用在閥瓣上的力時,止回閥關閉,阻止介質倒流。
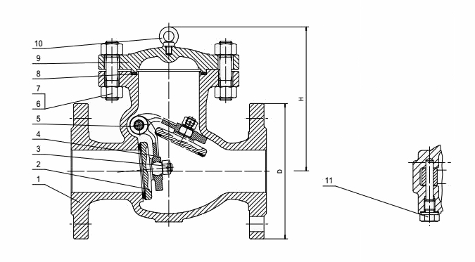
進口法蘭止回閥結構特點--
1.升降式:
其閥瓣沿著通道中以線作升降運動,適用于輕小口徑的場合,升降止回閥一般只能安裝在水平管路。
2.旋啟式:
旋啟式止回閥有單瓣旋啟式及雙瓣旋啟式二種。單瓣旋啟式止回閥一般適用于中等口徑的場合,雙瓣旋啟式止回閥適用于大中口徑管路。
3.立式:
立式止回閥一般就安裝在垂直管路。安裝箭頭標向上,使用介質從下往上沖開閥瓣,介質流通。當介質停止時,閥瓣靠自身重量落下使得閥門關閉,也可通過回流介質閥瓣向下關閉。
進口法蘭止回閥零部件材料--
|
零件名稱 |
閥體、閥蓋 |
啟閉件 |
密封面 |
栓件 |
|
材質 |
GS-C25 |
2Cr13 |
2Cr13、STL |
碳鋼 |
|
1Cr18Ni9Ti |
1Cr18Ni9Ti |
1Cr18Ni9Ti、STL |
1Cr18Ni9Ti |
|
|
CF3、CF8 |
SS316 |
304L、304、316L、316、STL |
1Cr18Ni9Ti |
進口法蘭止回閥技術參數--
|
公稱壓力 |
1.6MPa |
2.5MPa |
4.0MPa |
|
殼體強度 |
2.4MPa |
3.8MPa |
6.0MPa |
|
密封試驗 |
1.8MPa |
2.8MPa |
4.4MPa |
|
適用溫度 |
-20~350℃ |
||
|
適用介質 |
水、蒸汽、油品等 |
||
進口法蘭止回閥典型應用--
進口法蘭止回閥適用于加熱系統、工業腐蝕性流體、高溫熱油、化學物抽運、電力、石油、制藥、熱流體、灌溉、輸水、蒸汽、油品、氨、醇類。
進口法蘭止回閥外形尺寸--
升降式法蘭止回閥

|
DN |
L |
H |
Kv |
重量Kg |
||
|
PN16 |
PN25 |
PN40 |
||||
|
15 |
130 |
70 |
5.7 |
2.4 |
3.5 |
3.8 |
|
20 |
150 |
70 |
7.8 |
3.0 |
4.4 |
4.9 |
|
25 |
160 |
80 |
11.8 |
3.8 |
5.0 |
5.9 |
|
32 |
180 |
80 |
17.9 |
5.7 |
6.0 |
7.1 |
|
40 |
200 |
85 |
27.5 |
7.4 |
8.0 |
10.4 |
|
50 |
230 |
95 |
48.0 |
10.3 |
11.0 |
12.3 |
|
65 |
290 |
110 |
77.6 |
15.2 |
16.0 |
22.7 |
|
80 |
310 |
130 |
109.0 |
20.4 |
21.0 |
28.5 |
|
100 |
350 |
155 |
168.0 |
31.0 |
32.0 |
40.0 |
|
125 |
400 |
165 |
251.0 |
49.0 |
51.0 |
64.0 |
|
150 |
480 |
215 |
389.0 |
69.0 |
70.0 |
90.0 |
|
200 |
600 |
285 |
664.0 |
132.0 |
136.0 |
170.0 |
|
250 |
730 |
325 |
1017.0 |
198.0 |
218.0 |
240.0 |
|
300 |
850 |
365 |
1446.0 |
278.0 |
330.0 |
370.0 |
旋啟式法蘭止回閥

|
公稱通徑DN
|
L
|
D
|
D1
|
D2
|
b
|
Z-Φd
|
H
|
WT(Kg)
|
|
PN16
|
||||||||
|
50
|
230
|
160
|
125
|
100
|
16
|
4-Φ18
|
135
|
21
|
|
65
|
290
|
180
|
145
|
120
|
18
|
4-Φ18
|
142
|
28
|
|
80
|
310
|
195
|
160
|
135
|
20
|
8-Φ18
|
165
|
38
|
|
100
|
350
|
215
|
180
|
155
|
20
|
8-Φ18
|
180
|
58
|
|
125
|
400
|
245
|
210
|
185
|
22
|
8-Φ18
|
210
|
92
|
|
150
|
480
|
280
|
240
|
210
|
24
|
8-Φ23
|
233
|
130
|
|
200
|
500
|
335
|
295
|
265
|
26
|
12-Φ23
|
304
|
210
|
|
250
|
550
|
405
|
355
|
320
|
30
|
12-Φ25
|
348
|
294
|
|
300
|
650
|
460
|
410
|
375
|
30
|
12-Φ25
|
390
|
367
|
|
350
|
750
|
520
|
470
|
435
|
34
|
16-Φ25
|
430
|
410
|
|
400
|
850
|
580
|
525
|
485
|
36
|
16-Φ30
|
468
|
461
|
|
450
|
950
|
640
|
585
|
545
|
40
|
20-Φ30
|
523
|
570
|
|
500
|
1025
|
705
|
650
|
608
|
44
|
20-Φ34
|
525
|
850
|
|
PN25
|
||||||||
|
50
|
230
|
160
|
125
|
100
|
20
|
4-Φ18
|
160
|
22
|
|
65
|
290
|
180
|
145
|
120
|
22
|
8-Φ18
|
175
|
29
|
|
80
|
310
|
195
|
160
|
135
|
22
|
8-Φ18
|
185
|
38
|
|
100
|
350
|
230
|
190
|
160
|
24
|
8-Φ23
|
220
|
61
|
|
125
|
400
|
270
|
220
|
188
|
28
|
8-Φ25
|
248
|
96
|
|
150
|
480
|
300
|
250
|
218
|
30
|
8-Φ25
|
276
|
132
|
|
200
|
550
|
360
|
310
|
278
|
34
|
12-Φ25
|
350
|
213
|
|
250
|
650
|
425
|
370
|
332
|
36
|
12-Φ30
|
410
|
297
|
|
300
|
750
|
485
|
430
|
390
|
40
|
16-Φ30
|
430
|
372
|
|
350
|
850
|
550
|
490
|
448
|
44
|
16-Φ34
|
518
|
415
|
|
400
|
950
|
610
|
550
|
505
|
48
|
16-Φ34
|
560
|
480
|
|
450
|
1025
|
660
|
600
|
555
|
50
|
20-Φ34
|
582
|
610
|
|
500
|
1150
|
730
|
660
|
610
|
52
|
20-Φ41
|
618
|
920
|
|
公稱通徑DN
|
L
|
D
|
D1
|
D2
|
D6
|
b
|
f
|
f2
|
Z-Φd
|
H
|
WT(Kg)
|
|
PN40
|
|||||||||||
|
50
|
230
|
160
|
125
|
100
|
88
|
20
|
3
|
4
|
4-Φ18
|
169
|
22
|
|
65
|
290
|
180
|
145
|
120
|
110
|
22
|
3
|
4
|
8-Φ18
|
173
|
20
|
|
80
|
310
|
195
|
160
|
135
|
121
|
22
|
3
|
4
|
8-Φ18
|
185
|
38
|
|
100
|
350
|
230
|
190
|
160
|
150
|
24
|
3
|
4.5
|
8-Φ23
|
220
|
61
|
|
125
|
400
|
270
|
220
|
188
|
176
|
28
|
3
|
4.5
|
8-Φ25
|
248
|
96
|
|
150
|
480
|
300
|
250
|
218
|
204
|
30
|
3
|
4.5
|
8-Φ25
|
270
|
132
|
|
200
|
550
|
375
|
320
|
282
|
260
|
38
|
3
|
4.5
|
12-Φ30
|
342
|
213
|
|
250
|
650
|
445
|
385
|
345
|
313
|
42
|
3
|
4.5
|
12-Φ34
|
401
|
297
|
|
300
|
750
|
510
|
450
|
408
|
364
|
46
|
4
|
4.5
|
16-Φ34
|
423
|
372
|
|
350
|
850
|
570
|
510
|
465
|
422
|
52
|
4
|
5
|
16-Φ34
|
455
|
415
|
|
400
|
950
|
655
|
585
|
535
|
474
|
58
|
4
|
5
|
16-Φ41
|
510
|
480
|


