產品中心
進口不銹鋼止回閥
類別:美國進口閥門 ? 發布時間:1970-01-01 08:00 ? 瀏覽: 次

進口不銹鋼止回閥結構-
不銹鋼浮升降式止回閥(水平安裝)
不銹鋼旋啟式止回閥(水平或垂直安裝)
不銹鋼立式止回閥(垂直安裝)
進口不銹鋼止回閥連接-
法蘭,內螺紋,對夾
進口不銹鋼止回閥材質--
301、321、304、316、304L、316L、304H、雙向不銹鋼等
進口不銹鋼止回閥原理-
當介質順規定方向流動時,閥瓣受介質壓力的作用被頂開,實現介質的流通,當進口端壓力小于入口端的壓力,依靠閥瓣自身的重量和介質反方向流動產生的壓力實現閥瓣的關閉,達到阻止介質倒流的目的。
進口不銹鋼止回閥產品應用及特點--
不銹鋼止回閥廣泛應用于化工、石油、鍋爐、造紙、制藥、市政設施、樓宇建筑和水源工程等給排水系統中對水質要求較高的場合,其主要作用是防止介質倒流、防止泵及其驅動電機反轉。
—流道暢通、流體阻力小
—閥瓣關閉迅速
—動作靈敏,密封性能好
—使用壽命長、可靠性高
—適用于大,中,小型管道
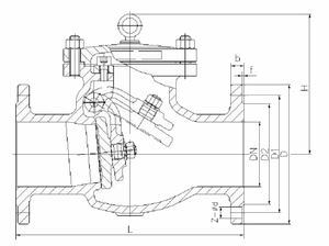
進口不銹鋼止回閥結構圖--




