類別:美國進口閥門 ? 發布時間:1970-01-01 08:00 ? 瀏覽: 次

進口波紋管截止閥
描述--
1.波紋管密封截止閥其關鍵部件—金屬波紋管,采用的是內藏式波紋管,免沖刷設計,另采用多層結構,通過液壓成形可保證最大程度的壽命延長,免維修,降低運行成本。
2.下端與閥桿組件采用自動滾焊焊接,在流體介質和大氣之間形成一個金屬屏障,閥瓣與閥體密封面采用行星式自動變頻研磨,組裝完畢經過100%試壓,確保閥桿零泄漏。作為輔助密封,在波紋管上面依然保留了填料函,填料一般為帶緩蝕劑的編織石墨,更增加了可靠性、安全性以及耐高溫性,提供一個無需維護的條件。
3.獨特的流道設計,采用計算機模擬驗證,減小氣蝕,實行全通,比同樣的流道能力增加10%一50%,流阻系數比同類閥門低,相同條件下流量大壓差小,能源消耗降最小化,提供用戶經濟綠色的產品。
進口波紋管截止閥 性能規范--
|
公稱壓力(MPa) |
殼體試驗壓力(MPa) |
密封試驗壓力(MPa) |
適用溫度(℃) |
|
1.6 |
2.4 |
1.76 |
|
|
2.5 |
3.75 |
2.75 |
|
|
4.0 |
6.0 |
4.4 |
|
|
6.4 |
9.6 |
7.04 |
進口波紋管截止閥
特點--
1.獨特的流道設計
比同規格的流道能力增加10%一50%,流阻系數低。
2.堆焊、研磨加工的閥瓣
采用不銹鋼材料和耐腐蝕合金鋼。焊接材料是的Stellite(司太立)6#,增加耐腐蝕、耐沖刷,增加壽命,同時保護密封圈的使用。
3.第一道密封一一波紋管組件
采用內藏式設計,免沖刷,免維修,降低運行成本,使用壽命長。
4.第二道密封一一非金屬填料
使用帶緩蝕劑的編織填料,更增加了可靠性、安全性以及耐高溫性提供一個無需維護的條件。
5.防轉塊
防止波紋管的橫向扭轉確保波紋管使用壽命的最大性。
6.填料壓套
用于壓緊填料使密封性能更完好,增加填料的使用壽命,免維護。
7.內限位裝置
增加閥桿的上限位,保護閥門的使用安全,有效的保護波紋管的彈性變量,大大提高使用壽命。
8.鉸鏈式連接
閥瓣和下閥桿采用的是鉸鏈式連接,王要是為了密封區接觸處的密封吻合度使密封性能更可靠保證關閉時無泄露
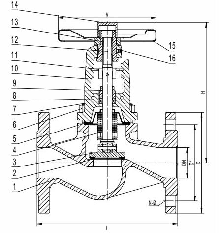
進口波紋管截止閥 主要零部件材料--

進口波紋管截止閥典型應用--
輸送易燃、易爆、易滲場合
輸送熱媒、導熱油、冷熱水、蒸汽場合
氣體管道輸送,如氯氣、氧氣、煤氣、氫氣、天然氣場合
進口波紋管截止閥 外形尺寸--


1.6MPa主要外形連接尺寸及重量:
|
口徑 |
15 |
20 |
25 |
32 |
40 |
50 |
65 |
80 |
100 |
125 |
150 |
200 |
250 |
300 |
350 |
|
L |
130 |
150 |
160 |
180 |
200 |
230 |
290 |
310 |
350 |
400 |
480 |
600 |
730 |
850 |
980 |
|
H |
195 |
200 |
220 |
225 |
235 |
250 |
260 |
265 |
370 |
400 |
515 |
550 |
600 |
630 |
680 |
|
Do |
130 |
130 |
130 |
130 |
150 |
150 |
180 |
180 |
200 |
200 |
400 |
450 |
450 |
500 |
500 |
|
重量(Kg) |
4 |
4.5 |
5 |
7 |
9 |
12.5 |
18 |
23 |
41 |
54 |
90 |
160 |
260 |
410 |
|
2.5 MPa主要外形連接尺寸及重量:
|
口徑 |
15 |
20 |
25 |
32 |
40 |
50 |
65 |
80 |
100 |
125 |
150 |
200 |
250 |
300 |
350 |
|
L |
130 |
150 |
160 |
180 |
200 |
230 |
290 |
310 |
350 |
400 |
480 |
600 |
730 |
850 |
980 |
|
H |
195 |
200 |
220 |
225 |
235 |
250 |
260 |
265 |
370 |
400 |
515 |
550 |
600 |
630 |
680 |
|
Do |
130 |
130 |
130 |
130 |
150 |
150 |
180 |
180 |
200 |
200 |
400 |
450 |
450 |
500 |
450 |
|
重量(Kg) |
4 |
4.5 |
5 |
7 |
9.5 |
13 |
19 |
24 |
43 |
57 |
95 |
168 |
300 |
510 |
680 |
4.0 MPa主要外形連接尺寸及重量:
|
口徑 |
15 |
20 |
25 |
32 |
40 |
50 |
65 |
80 |
100 |
125 |
150 |
200 |
250 |
300 |
350 |
|
L |
130 |
150 |
160 |
180 |
200 |
230 |
290 |
310 |
350 |
400 |
480 |
600 |
730 |
850 |
980 |
|
H |
195 |
200 |
220 |
225 |
235 |
250 |
260 |
265 |
370 |
400 |
515 |
550 |
600 |
630 |
680 |
|
Do |
130 |
130 |
130 |
130 |
150 |
150 |
180 |
180 |
200 |
200 |
400 |
450 |
450 |
500 |
500 |
|
重量(Kg) |
4 |
4.5 |
5 |
8 |
10 |
13.5 |
20 |
25 |
45 |
60 |
98 |
171 |
340 |
580 |
780 |


