類別:美國進口閥門 ? 發布時間:1970-01-01 08:00 ? 瀏覽: 次

進口法蘭截止閥描述--
ALSO法蘭截止閥采用明桿支架式,螺栓連接閥蓋結構,啟閉件是蓋形的閥瓣,密封面呈平面,閥瓣沿閥座的中心線旋轉升降閥桿和手輪作直線運動來達到啟閉。
進口法蘭截止閥特征--
1.壽命長,法蘭截止閥采用獨特的雙波紋管密封設計,從而完全消除了閥桿填料密封泄漏的問題.滿足最嚴格的泄漏等級要求。如波紋管不幸失效,閥桿上填料密封可提供二次密封防止泄漏。
2.免維修,波紋管密封結構不僅杜絕了泄漏現象,而且無需維護,如需更換內部件,方便、簡單、快速、所有部件達到標準、互換。
3.加脂注油,在閥帽/閥蓋帶有加脂莊油孔,可對閥桿和螺母軸套進行潤滑。
4.球型錐面閥蕊,法蘭截止閥采用獨特球型錐面閥蕊代替傳統的平面閥蕊,可手動粗略進行流水控制,閥蕊表面硬化處理,提高了密封性能
5.經過嚴格的計算,具有良好的強度、剛度和流通能力。閥蓋上設計了上密封座在全開狀態下使填料密封更為可靠,并方便填料的更換
6.采用楔式彈性閘板結構,中大口徑設置滾動軸承,啟閉輕松。
進口法蘭截止閥技術規范--
|
結構形式 construction |
BB-BG-OS&Y |
|
驅動方式 operation |
手動hand-operated |
|
氣動 pneumatic |
|
|
設計標準 design standard |
DIN3356 |
|
結構長度 face to face dimension |
DIN3202 |
|
連接法蘭 flanged ends |
DIN2543-2545 |
|
試驗和檢驗 test&inspection |
DIN3230 |
進口法蘭截止閥性能--
|
公稱壓力(MPa) |
殼體試驗壓力(MPa) |
密封試驗壓力(MPa) |
適用溫度(℃) |
適用介質 |
|
1.6 |
2.4 |
1.76 |
-20℃-350℃ |
水、蒸汽、油品等 |
|
2.5 |
3.75 |
2.75 |
||
|
4.0 |
6.0 |
4.4 |
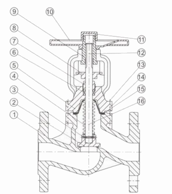
進口法蘭截止閥結構圖--

|
序號NO. |
名-稱part name |
材質material |
|
1 |
閥體body |
GS-C25、CF8、CF3 |
|
2 |
閥瓣disc |
2CR13、F304、F316 |
|
3 |
軸銷hinge pin |
F304、F316 |
|
4 |
波紋管組件bellows combination |
F304、F316L |
|
5 |
閥蓋bonnet |
GS-C25、CF8、CF3 |
|
6 |
填料packing |
柔性石墨Flexible graphite、PTFE |
|
7 |
壓套gland |
25#、F304、F316 |
|
8 |
定位片locator |
25#、F304、F316 |
|
9 |
閥桿螺母stem nut |
銅合金ZQA19-4 |
|
10 |
手輪hand wheel |
碳鋼carbon steel |
|
11 |
并帽cap |
25# |
|
12 |
油杯oil cup |
黃銅brass |
|
13 |
六角螺母hexagon nut |
ASTMA193 2H、A193-8、A193-8M |
|
14 |
雙頭螺栓bolt |
ASTMA193 B7、A193-B8、A193-B8M |
|
15 |
墊片gasket |
柔性石墨+不銹鋼 |
|
16 |
閥桿stem |
2Cr13、F304、F316 |
進口法蘭截止閥外形尺寸--

1.6MPa主要連接尺寸:
|
壓力等級 |
PN16 |
|||||||||||||
|
口徑size |
15 |
20 |
25 |
32 |
40 |
50 |
65 |
80 |
100 |
125 |
150 |
200 |
250 |
300 |
|
L |
130 |
150 |
160 |
180 |
200 |
230 |
290 |
310 |
350 |
400 |
480 |
600 |
730 |
850 |
|
H |
195 |
195 |
207 |
218 |
225 |
230 |
272 |
290 |
355 |
410 |
425 |
540 |
665 |
720 |
|
W |
120 |
120 |
140 |
140 |
160 |
180 |
180 |
200 |
250 |
300 |
300 |
400 |
520 |
520 |
|
重量(kg)Weight |
4 |
4.5 |
5 |
7 |
9 |
12 |
18.5 |
23 |
38.5 |
56 |
75 |
113.5 |
235 |
395 |
|
行程h |
7 |
7 |
12 |
13 |
14 |
15 |
19 |
23 |
28 |
35 |
42 |
52 |
64 |
75 |
|
Kv |
4.2 |
7.4 |
12 |
19 |
30 |
47 |
77 |
120 |
188 |
288 |
410 |
725 |
1145 |
1635 |
2.5MPa主要連接尺寸:
|
壓力等級 |
PN25 |
|||||||||||||
|
口徑size |
15 |
20 |
25 |
32 |
40 |
50 |
65 |
80 |
100 |
125 |
150 |
200 |
250 |
300 |
|
L |
130 |
150 |
160 |
180 |
200 |
230 |
290 |
310 |
350 |
400 |
480 |
600 |
730 |
850 |
|
H |
195 |
195 |
207 |
218 |
225 |
230 |
272 |
290 |
355 |
410 |
425 |
540 |
665 |
720 |
|
W |
120 |
120 |
140 |
140 |
160 |
180 |
180 |
200 |
250 |
300 |
300 |
400 |
520 |
520 |
|
重量(kg)Weight |
4 |
4.5 |
5.5 |
7.5 |
10 |
12.5 |
19 |
24 |
43 |
57 |
79 |
135 |
285 |
415 |
|
行程h |
7 |
7 |
12 |
13 |
14 |
15 |
19 |
23 |
28 |
35 |
42 |
52 |
64 |
75 |
|
Kv |
4.2 |
7.4 |
12 |
19 |
30 |
47 |
77 |
120 |
188 |
288 |
410 |
725 |
1145 |
1635 |
4.0MPa主要連接尺寸:
|
壓力等級 |
PN40 |
|||||||||||||
|
口徑size |
15 |
20 |
25 |
32 |
40 |
50 |
65 |
80 |
100 |
125 |
150 |
200 |
250 |
300 |
|
L |
130 |
150 |
160 |
180 |
200 |
230 |
290 |
310 |
350 |
400 |
480 |
600 |
730 |
850 |
|
H |
195 |
195 |
207 |
218 |
225 |
230 |
272 |
290 |
355 |
410 |
425 |
540 |
665 |
720 |
|
W |
120 |
120 |
140 |
140 |
160 |
180 |
180 |
200 |
250 |
300 |
300 |
400 |
520 |
520 |
|
重量(kg)Weight |
4 |
4.5 |
6 |
8 |
11.5 |
13.5 |
20 |
25 |
45 |
60 |
83 |
158 |
305 |
440 |
|
行程h |
7 |
7 |
12 |
13 |
14 |
15 |
19 |
23 |
28 |
35 |
42 |
52 |
64 |
75 |
|
Kv |
4.2 |
7.4 |
12 |
19 |
30 |
47 |
77 |
120 |
188 |
288 |
410 |
725 |
1145 |
1635 |
進口法蘭截止閥典型應用--
法蘭截止閥是管道流體控制通用設備,通常用于水、油品、氣體、導熱油、蒸汽、熱水、酸類、尿素液等腐蝕性與非腐蝕性介質;


